备案 - 控制台 退出
备案 免费注册 登录
云服务器
负载均衡
云数据库
对象存储
会员相关
账号资产
安全保障
财务相关
账户问题
选购指南
付款结算
合同及发票
云虚拟主机
SSL证书
域名
CDN加速
备案指南
管局备案要求
前置审批说明
法律法规
服务器托管
上架流程
下架流程
重装系统
负责均衡
控制台使用
基础类问题
应用类问题
网络类问题
安全类问题
物理机租用
常见问题
规则说明
安全总则
信息安全处罚规则
备案系统
首次备案
备案规则
Linux安装教程
Linux-经验分享
centos经验分享
SSL证书安装
SSLCSR生成
SSL证书备份
服务器软件下载
虚拟机上传管理
虚拟机知识分享
数据库问题
数据库知识
数据库技术
产品简介 > 实例介绍
云服务器实例是指虚拟计算环境。其中包括CPU、内存、硬盘、系统、网络等最基础的计算机组件。
实例配置搭配方式如下表。
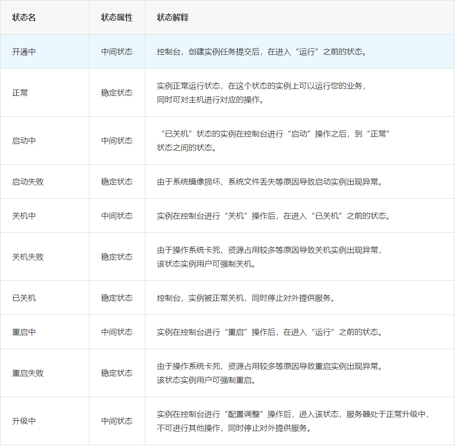
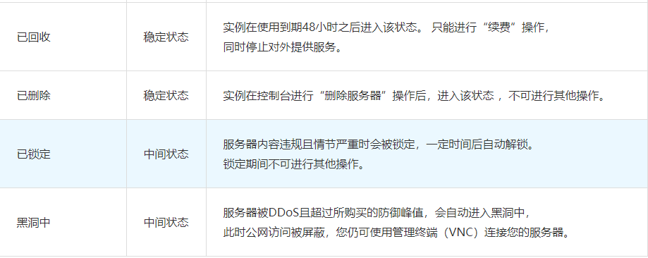
服务器实例的生命周期为实例创建到实例释放。
这条帮助是否解决了您的问题? 已解决 未解决
Copyright © 2013-2023 . All Rights Reserved. 宵云 版权所有 南通宵云网络科技有限公司
工信部备案:苏ICP备18049042号-2 公安部备案:苏公网安备 32060102320703号
《中华人民共和国增值电信业务经营许可证》经营性ICP/ISP/IDC三证:苏B1.B2-20210805
TOP